泊祎回收泊祎回收
  • 首页
  • 金属回收
  • 家具回收
  • 电子产品
  • 工程拆除
  • 电器回收
  • 再生资源
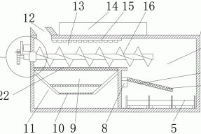
  • 一种自动分级的圆筒洗矿机的制作方法 再生资源

    一种自动分级的圆筒洗矿机的制作方法

    ...

    huishou5 huishou5 2021-10-02
    285 0
  • 江苏省静力压桩施工组织设计四 工程拆除

    江苏省静力压桩施工组织设计四

    ...

    huishou5 huishou5 2021-10-02
    314 0
  • 回收废金属LM1是什么材料(LM1模具钢) 金属回收

    回收废金属LM1是什么材料(LM1模具钢)

    ...

    huishou5 huishou5 2021-10-02
    290 0
  • 一种浓缩池煤泥水界面自动检测及清洗装置的制作方法 再生资源

    一种浓缩池煤泥水界面自动检测及清洗装置的制作方法

    ...

    huishou5 huishou5 2021-10-02
    301 0
  • 废电脑回收:索尼中端新品Xperia C或明天发布,售价2千元以下 电子产品

    废电脑回收:索尼中端新品Xperia C或明天发布,售价2千元以下

    ...

    huishou5 huishou5 2021-10-02
    316 0
  • 建筑工程技术管理中存在的问题及技术控制 工程拆除

    建筑工程技术管理中存在的问题及技术控制

    ...

    huishou5 huishou5 2021-10-02
    310 0
  • 金属回收416不锈钢是什么材料(416不锈钢材质介绍) 金属回收

    金属回收416不锈钢是什么材料(416不锈钢材质介绍)

    ...

    huishou5 huishou5 2021-10-02
    434 0
  • 废旧家电去哪了 探访青岛报废电器流水线 再生资源

    废旧家电去哪了 探访青岛报废电器流水线

    ...

    huishou5 huishou5 2021-10-02
    271 0
  • 港航桥梁工程与水运工程分析 工程拆除

    港航桥梁工程与水运工程分析

    ...

    huishou5 huishou5 2021-10-02
    408 0
  • 一种用于铸造的铸造件清洗装置的制作方法 再生资源

    一种用于铸造的铸造件清洗装置的制作方法

    ...

    huishou5 huishou5 2021-10-02
    316 0
首页 上一页 1982 1983 1984 1985 1986 1987 1988 1989 1990 1991 下一页 尾页

正在加载...

没有更多内容

加载错误

热评文章

  • 使命是通过回收废旧物资,为社会环境和可持续发展做出贡献

    使命是通过回收废旧物资,为社会环境和可持续发展做出贡献

    2023-07-03
  • 四川恒源通达环保科技有限公司介绍

    四川恒源通达环保科技有限公司介绍

    2023-07-03
  • 安康回收电缆线的主要分类

    安康回收电缆线的主要分类

    2023-07-04
  • 丽江废电缆回收发挥更大的意义

    丽江废电缆回收发挥更大的意义

    2023-07-04
  • 贵州废旧电线回收产品使用误区

    贵州废旧电线回收产品使用误区

    2023-07-04
  • 非晶合金油浸式变压器油处理到什么程度才算合格?

    非晶合金油浸式变压器油处理到什么程度才算合格?

    2023-07-04
  • 贵州废旧电缆回收价格取决于多种因素

    贵州废旧电缆回收价格取决于多种因素

    2023-07-04
  • 贵州废旧电缆回收价格是怎么算的

    贵州废旧电缆回收价格是怎么算的

    2023-07-04

标签列表

    泊祎回收

    Copyright © 2012-2025 版权所有
    • QQ
    • 微信
    • 微博
    • 空间