泊祎回收泊祎回收
  • 首页
  • 金属回收
  • 家具回收
  • 电子产品
  • 工程拆除
  • 电器回收
  • 再生资源
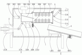
  • 一种MBR膜地埋式一体化污水处理装置的制作方法 再生资源

    一种MBR膜地埋式一体化污水处理装置的制作方法

    ...

    huishou5 huishou5 2021-10-10
    240 0
  • 建筑工程钢筋检测试验要点研究分析 工程拆除

    建筑工程钢筋检测试验要点研究分析

    ...

    huishou5 huishou5 2021-10-10
    338 0
  • 废电脑回收:特别策划:网络与安全,“云”技术发展的重点 电子产品

    废电脑回收:特别策划:网络与安全,“云”技术发展的重点

    ...

    huishou5 huishou5 2021-10-10
    270 0
  • 冷库回收的作用 电器回收

    冷库回收的作用

    ...

    huishou5 huishou5 2021-10-10
    272 0
  • 一种土壤修复用混合装置的制作方法 再生资源

    一种土壤修复用混合装置的制作方法

    ...

    huishou5 huishou5 2021-10-10
    326 0
  • 污水处理的回用工艺 工程拆除

    污水处理的回用工艺

    ...

    huishou5 huishou5 2021-10-10
    345 0
  • 金属回收65Nb是什么材料(65Nb模具钢) 金属回收

    金属回收65Nb是什么材料(65Nb模具钢)

    ...

    huishou5 huishou5 2021-10-10
    296 0
  • 用于制作蛋白肽原料的清洗装置的制作方法 再生资源

    用于制作蛋白肽原料的清洗装置的制作方法

    ...

    huishou5 huishou5 2021-10-10
    313 0
  • 成都中央空调回收价格是多少呢? 电器回收

    成都中央空调回收价格是多少呢?

    ...

    huishou5 huishou5 2021-10-10
    281 0
  • 废电脑回收:双屏多点触控,宏碁发布Iconia笔记本电脑 电子产品

    废电脑回收:双屏多点触控,宏碁发布Iconia笔记本电脑

    ...

    huishou5 huishou5 2021-10-10
    378 0
首页 上一页 1951 1952 1953 1954 1955 1956 1957 1958 1959 1960 下一页 尾页

正在加载...

没有更多内容

加载错误

热评文章

  • 使命是通过回收废旧物资,为社会环境和可持续发展做出贡献

    使命是通过回收废旧物资,为社会环境和可持续发展做出贡献

    2023-07-03
  • 四川恒源通达环保科技有限公司介绍

    四川恒源通达环保科技有限公司介绍

    2023-07-03
  • 安康回收电缆线的主要分类

    安康回收电缆线的主要分类

    2023-07-04
  • 丽江废电缆回收发挥更大的意义

    丽江废电缆回收发挥更大的意义

    2023-07-04
  • 贵州废旧电线回收产品使用误区

    贵州废旧电线回收产品使用误区

    2023-07-04
  • 非晶合金油浸式变压器油处理到什么程度才算合格?

    非晶合金油浸式变压器油处理到什么程度才算合格?

    2023-07-04
  • 贵州废旧电缆回收价格取决于多种因素

    贵州废旧电缆回收价格取决于多种因素

    2023-07-04
  • 贵州废旧电缆回收价格是怎么算的

    贵州废旧电缆回收价格是怎么算的

    2023-07-04

标签列表

    泊祎回收

    Copyright © 2012-2025 版权所有
    • QQ
    • 微信
    • 微博
    • 空间