泊祎回收泊祎回收
  • 首页
  • 金属回收
  • 家具回收
  • 电子产品
  • 工程拆除
  • 电器回收
  • 再生资源
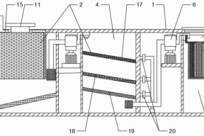
  • 一种生物膜净化功能的净水器的制作方法 再生资源

    一种生物膜净化功能的净水器的制作方法

    ...

    huishou5 huishou5 2021-10-10
    277 0
  • 废电脑回收:极具性价比,银欣ST40F-ES 400W电源广州上架 电子产品

    废电脑回收:极具性价比,银欣ST40F-ES 400W电源广州上架

    ...

    huishou5 huishou5 2021-10-10
    256 0
  • 金属回收GCr18Mo是什么材料(GCr18Mo轴承钢材质介绍) 金属回收

    金属回收GCr18Mo是什么材料(GCr18Mo轴承钢材质介绍)

    ...

    huishou5 huishou5 2021-10-10
    396 0
  • 一种拔罐瓶专用清洗装置的制作方法 再生资源

    一种拔罐瓶专用清洗装置的制作方法

    ...

    huishou5 huishou5 2021-10-10
    269 0
  • 冷库的设计方案要怎么做呢 电器回收

    冷库的设计方案要怎么做呢

    ...

    huishou5 huishou5 2021-10-10
    254 0
  • 施工现场临时用电安全管理 工程拆除

    施工现场临时用电安全管理

    ...

    huishou5 huishou5 2021-10-10
    329 0
  • 废旧家电难处理 只能廉价卖给收废品商贩 再生资源

    废旧家电难处理 只能廉价卖给收废品商贩

    ...

    huishou5 huishou5 2021-10-10
    233 0
  • 废电脑回收:神舟UT43显卡是什么 电子产品

    废电脑回收:神舟UT43显卡是什么

    ...

    huishou5 huishou5 2021-10-10
    254 0
  • 成都中央空调回收需要注意哪些问题? 电器回收

    成都中央空调回收需要注意哪些问题?

    ...

    huishou5 huishou5 2021-10-10
    287 0
  • 回收废金属XW10冷作模具钢 金属回收

    回收废金属XW10冷作模具钢

    ...

    huishou5 huishou5 2021-10-10
    258 0
首页 上一页 1950 1951 1952 1953 1954 1955 1956 1957 1958 1959 下一页 尾页

正在加载...

没有更多内容

加载错误

热评文章

  • 使命是通过回收废旧物资,为社会环境和可持续发展做出贡献

    使命是通过回收废旧物资,为社会环境和可持续发展做出贡献

    2023-07-03
  • 四川恒源通达环保科技有限公司介绍

    四川恒源通达环保科技有限公司介绍

    2023-07-03
  • 安康回收电缆线的主要分类

    安康回收电缆线的主要分类

    2023-07-04
  • 丽江废电缆回收发挥更大的意义

    丽江废电缆回收发挥更大的意义

    2023-07-04
  • 贵州废旧电线回收产品使用误区

    贵州废旧电线回收产品使用误区

    2023-07-04
  • 非晶合金油浸式变压器油处理到什么程度才算合格?

    非晶合金油浸式变压器油处理到什么程度才算合格?

    2023-07-04
  • 贵州废旧电缆回收价格取决于多种因素

    贵州废旧电缆回收价格取决于多种因素

    2023-07-04
  • 贵州废旧电缆回收价格是怎么算的

    贵州废旧电缆回收价格是怎么算的

    2023-07-04

标签列表

    泊祎回收

    Copyright © 2012-2025 版权所有
    • QQ
    • 微信
    • 微博
    • 空间