泊祎回收泊祎回收
  • 首页
  • 金属回收
  • 家具回收
  • 电子产品
  • 工程拆除
  • 电器回收
  • 再生资源
  • 城市经济增长及调控原理 工程拆除

    城市经济增长及调控原理

    ...

    huishou5 huishou5 2021-10-26
    357 0
  • 二手旧家具回收:梳妆台应该放在哪里?简欧梳妆台的摆放技巧 家具回收

    二手旧家具回收:梳妆台应该放在哪里?简欧梳妆台的摆放技巧

    ...

    huishou5 huishou5 2021-10-26
    289 0
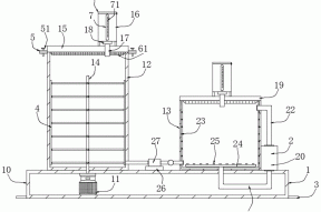
  • 一种利用畜禽粪污发酵碳源的发酵池的制作方法 再生资源

    一种利用畜禽粪污发酵碳源的发酵池的制作方法

    ...

    huishou5 huishou5 2021-10-26
    355 0
  • 塑料成都回收:将普通塑料转变成高价值分子的方法-泊祎成都回收网 电器回收

    塑料成都回收:将普通塑料转变成高价值分子的方法-泊祎成都回收网

    ...

    huishou5 huishou5 2021-10-26
    401 0
  • 金属回收ASSAB V10是什么材料(ASSAB V10高速钢) 金属回收

    金属回收ASSAB V10是什么材料(ASSAB V10高速钢)

    ...

    huishou5 huishou5 2021-10-26
    436 0
  • 明挖扩大基础施工工艺 工程拆除

    明挖扩大基础施工工艺

    ...

    huishou5 huishou5 2021-10-26
    360 0
  • 废电脑回收:索尼定于25日召开新品发布会,平板手机Togari或登场 电子产品

    废电脑回收:索尼定于25日召开新品发布会,平板手机Togari或登场

    ...

    huishou5 huishou5 2021-10-26
    331 0
  • 一种工作车及除锈装置的制作方法 再生资源

    一种工作车及除锈装置的制作方法

    ...

    huishou5 huishou5 2021-10-26
    308 0
  • 老旧二手空调真的很“吃电”吗?二手空调耗电怎么样?-泊祎成都回收网 电器回收

    老旧二手空调真的很“吃电”吗?二手空调耗电怎么样?-泊祎成都回收网

    ...

    huishou5 huishou5 2021-10-26
    759 0
  • 什么是建筑施工企业管理 工程拆除

    什么是建筑施工企业管理

    ...

    huishou5 huishou5 2021-10-26
    474 0
首页 上一页 1863 1864 1865 1866 1867 1868 1869 1870 1871 1872 下一页 尾页

正在加载...

没有更多内容

加载错误

热评文章

  • 使命是通过回收废旧物资,为社会环境和可持续发展做出贡献

    使命是通过回收废旧物资,为社会环境和可持续发展做出贡献

    2023-07-03
  • 四川恒源通达环保科技有限公司介绍

    四川恒源通达环保科技有限公司介绍

    2023-07-03
  • 安康回收电缆线的主要分类

    安康回收电缆线的主要分类

    2023-07-04
  • 丽江废电缆回收发挥更大的意义

    丽江废电缆回收发挥更大的意义

    2023-07-04
  • 贵州废旧电线回收产品使用误区

    贵州废旧电线回收产品使用误区

    2023-07-04
  • 非晶合金油浸式变压器油处理到什么程度才算合格?

    非晶合金油浸式变压器油处理到什么程度才算合格?

    2023-07-04
  • 贵州废旧电缆回收价格取决于多种因素

    贵州废旧电缆回收价格取决于多种因素

    2023-07-04
  • 贵州废旧电缆回收价格是怎么算的

    贵州废旧电缆回收价格是怎么算的

    2023-07-04

标签列表

    泊祎回收

    Copyright © 2012-2025 版权所有
    • QQ
    • 微信
    • 微博
    • 空间