泊祎回收泊祎回收
  • 首页
  • 金属回收
  • 家具回收
  • 电子产品
  • 工程拆除
  • 电器回收
  • 再生资源
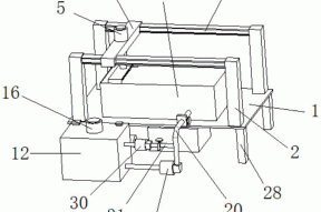
  • 食醋调配池自动清洁装置的制作方法 再生资源

    食醋调配池自动清洁装置的制作方法

    ...

    huishou5 huishou5 2021-09-10
    317 0
  • 电器回收

    数据中心设计机房专用空调系统时应考虑的问题

    ...

    huishou5 huishou5 2021-09-10
    434 0
  • 废电脑回收:台风吹不走新机消息,LG Nexus 4运行安卓4.1系统 电子产品

    废电脑回收:台风吹不走新机消息,LG Nexus 4运行安卓4.1系统

    ...

    huishou5 huishou5 2021-09-10
    468 0
  • 铝价承压走跌 回调压力显现 金属回收

    铝价承压走跌 回调压力显现

    ...

    huishou5 huishou5 2021-09-10
    326 0
  • 建筑设计与艺术文化渗透关系 工程拆除

    建筑设计与艺术文化渗透关系

    ...

    huishou5 huishou5 2021-09-10
    372 0
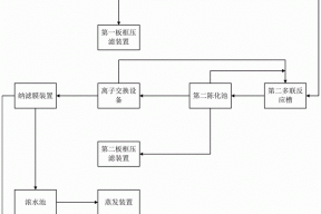
  • 一种稀土冶炼废水的资源回收系统的制作方法 再生资源

    一种稀土冶炼废水的资源回收系统的制作方法

    ...

    huishou5 huishou5 2021-09-10
    342 0
  • 电工小技巧-简便快速的估算负荷电流用途_线缆基础知识【 金属回收

    电工小技巧-简便快速的估算负荷电流用途_线缆基础知识【

    ...

    huishou5 huishou5 2021-09-10
    305 0
  • 成都废旧空调回收:客厅空调该买多大匹? 客厅四十平用多大空调? 客厅空调选购指南! 电器回收

    成都废旧空调回收:客厅空调该买多大匹? 客厅四十平用多大空调? 客厅空调选购指南!

    ...

    huishou5 huishou5 2021-09-10
    282 0
  • 废电脑回收:是单条32G的内存强,还是套装两条16G的更强 电子产品

    废电脑回收:是单条32G的内存强,还是套装两条16G的更强

    ...

    huishou5 huishou5 2021-09-10
    405 0
  • 橡套电缆出现外观缺陷的五种原因! 金属回收

    橡套电缆出现外观缺陷的五种原因!

    ...

    huishou5 huishou5 2021-09-10
    302 0
首页 上一页 2307 2308 2309 2310 2311 2312 2313 2314 2315 2316 下一页 尾页

正在加载...

没有更多内容

加载错误

热评文章

  • 金属回收

    金属回收

    2023-07-12
  • 再生资源回收

    再生资源回收

    2023-07-12
  • 二手变压器

    二手变压器

    2023-07-12
  • 二手电缆线

    二手电缆线

    2023-07-12
  • 二手空调

    二手空调

    2023-07-12
  • 环保科技指什么

    环保科技指什么

    2023-07-12
  • 甘孜州电缆线回收行业

    甘孜州电缆线回收行业

    2023-07-14
  • 甘孜州二手电缆线回收:环保责任与经济利益共赢

    甘孜州二手电缆线回收:环保责任与经济利益共赢

    2023-07-14

标签列表

    泊祎回收

    Copyright © 2012-2025 版权所有
    • QQ
    • 微信
    • 微博
    • 空间