泊祎回收泊祎回收
  • 首页
  • 金属回收
  • 家具回收
  • 电子产品
  • 工程拆除
  • 电器回收
  • 再生资源
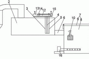
  • 一种可移动的立式超声波清洗机的制作方法 再生资源

    一种可移动的立式超声波清洗机的制作方法

    ...

    huishou5 huishou5 2021-09-09
    309 0
  • 铅铜铝锌全线反弹 短线难有趋势性行情 金属回收

    铅铜铝锌全线反弹 短线难有趋势性行情

    ...

    huishou5 huishou5 2021-09-09
    231 0
  • 废电脑回收:惠普新平板将配Haswell处理器,还不带风扇呢 电子产品

    废电脑回收:惠普新平板将配Haswell处理器,还不带风扇呢

    ...

    huishou5 huishou5 2021-09-09
    291 0
  • 家居装修预算 工程拆除

    家居装修预算

    ...

    huishou5 huishou5 2021-09-09
    387 0
  • 一种水质重金属在线进样系统初级过滤装置的制作方法 再生资源

    一种水质重金属在线进样系统初级过滤装置的制作方法

    ...

    huishou5 huishou5 2021-09-09
    262 0
  • 电解铝供给侧改革加码,业绩弹性谁较大? 金属回收

    电解铝供给侧改革加码,业绩弹性谁较大?

    ...

    huishou5 huishou5 2021-09-09
    479 0
  • 2017年绵阳厨具回收行业将如何发展 电器回收

    2017年绵阳厨具回收行业将如何发展

    ...

    huishou5 huishou5 2021-09-09
    354 0
  • 废电脑回收:体验星际争霸2,旌宇于欧美试行新招推广显卡 电子产品

    废电脑回收:体验星际争霸2,旌宇于欧美试行新招推广显卡

    ...

    huishou5 huishou5 2021-09-09
    413 0
  • 铝行业低迷期更应“耐心磨剑” 金属回收

    铝行业低迷期更应“耐心磨剑”

    ...

    huishou5 huishou5 2021-09-09
    289 0
  • 一种可强化废水处理效果的涂装废水一体化处理装置的制作方法 再生资源

    一种可强化废水处理效果的涂装废水一体化处理装置的制作方法

    ...

    huishou5 huishou5 2021-09-09
    293 0
首页 上一页 2312 2313 2314 2315 2316 2317 2318 2319 2320 2321 下一页 尾页

正在加载...

没有更多内容

加载错误

热评文章

  • 金属回收

    金属回收

    2023-07-12
  • 再生资源回收

    再生资源回收

    2023-07-12
  • 二手变压器

    二手变压器

    2023-07-12
  • 二手电缆线

    二手电缆线

    2023-07-12
  • 二手空调

    二手空调

    2023-07-12
  • 环保科技指什么

    环保科技指什么

    2023-07-12
  • 甘孜州电缆线回收行业

    甘孜州电缆线回收行业

    2023-07-14
  • 甘孜州二手电缆线回收:环保责任与经济利益共赢

    甘孜州二手电缆线回收:环保责任与经济利益共赢

    2023-07-14

标签列表

    泊祎回收

    Copyright © 2012-2025 版权所有
    • QQ
    • 微信
    • 微博
    • 空间