泊祎回收泊祎回收
  • 首页
  • 金属回收
  • 家具回收
  • 电子产品
  • 工程拆除
  • 电器回收
  • 再生资源
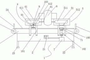
  • 一种电网工程用输电线路绝缘子清扫机器人的制作方法 再生资源

    一种电网工程用输电线路绝缘子清扫机器人的制作方法

    ...

    huishou5 huishou5 2021-09-10
    389 0
  • 废电脑回收:散热器问题,盈通游戏高手GTX 560 Ti第二版全面召回 电子产品

    废电脑回收:散热器问题,盈通游戏高手GTX 560 Ti第二版全面召回

    ...

    huishou5 huishou5 2021-09-10
    347 0
  • 再生铝企业如何突破“微利” 金属回收

    再生铝企业如何突破“微利”

    ...

    huishou5 huishou5 2021-09-10
    255 0
  • 稀有金属出口:欧美“发难”的不良图谋 金属回收

    稀有金属出口:欧美“发难”的不良图谋

    ...

    huishou5 huishou5 2021-09-10
    305 0
  • 一种高效陶瓷清洗设备的制作方法 再生资源

    一种高效陶瓷清洗设备的制作方法

    ...

    huishou5 huishou5 2021-09-10
    252 0
  • 招投标阶段工程造价控制研究 工程拆除

    招投标阶段工程造价控制研究

    ...

    huishou5 huishou5 2021-09-10
    318 0
  • 空调能效标识所标注的能效之间有什么差别 电器回收

    空调能效标识所标注的能效之间有什么差别

    ...

    huishou5 huishou5 2021-09-10
    289 0
  • 废电脑回收:神舟UT43有什么配件 电子产品

    废电脑回收:神舟UT43有什么配件

    ...

    huishou5 huishou5 2021-09-10
    294 0
  • 绝缘电阻测量之前应做好哪些准备解析 金属回收

    绝缘电阻测量之前应做好哪些准备解析

    ...

    huishou5 huishou5 2021-09-10
    484 0
  • 一种用于城镇污水处理的装置的制作方法 再生资源

    一种用于城镇污水处理的装置的制作方法

    ...

    huishou5 huishou5 2021-09-10
    259 0
首页 上一页 2276 2277 2278 2279 2280 2281 2282 2283 2284 2285 下一页 尾页

正在加载...

没有更多内容

加载错误

热评文章

  • 金属回收

    金属回收

    2023-07-12
  • 再生资源回收

    再生资源回收

    2023-07-12
  • 二手变压器

    二手变压器

    2023-07-12
  • 二手电缆线

    二手电缆线

    2023-07-12
  • 二手空调

    二手空调

    2023-07-12
  • 环保科技指什么

    环保科技指什么

    2023-07-12
  • 甘孜州电缆线回收行业

    甘孜州电缆线回收行业

    2023-07-14
  • 甘孜州二手电缆线回收:环保责任与经济利益共赢

    甘孜州二手电缆线回收:环保责任与经济利益共赢

    2023-07-14

标签列表

    泊祎回收

    Copyright © 2012-2025 版权所有
    • QQ
    • 微信
    • 微博
    • 空间