泊祎回收泊祎回收
  • 首页
  • 金属回收
  • 家具回收
  • 电子产品
  • 工程拆除
  • 电器回收
  • 再生资源
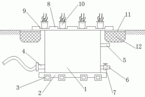
  • 一种等离子除胶清洗机结构的制作方法 再生资源

    一种等离子除胶清洗机结构的制作方法

    ...

    huishou5 huishou5 2021-09-11
    502 0
  • 公路工程安全检查制度 工程拆除

    公路工程安全检查制度

    ...

    huishou5 huishou5 2021-09-11
    331 0
  • 废电脑回收:三星Galaxy Note Pro 12.2 128G全新机回收「2021报价」- 电子产品

    废电脑回收:三星Galaxy Note Pro 12.2 128G全新机回收「2021报价」-

    ...

    huishou5 huishou5 2021-09-11
    300 0
  • 新房子装修装中央空调好还是柜机和挂机好 电器回收

    新房子装修装中央空调好还是柜机和挂机好

    ...

    huishou5 huishou5 2021-09-11
    330 0
  • 中铝并购受挫源于策略失当 金属回收

    中铝并购受挫源于策略失当

    ...

    huishou5 huishou5 2021-09-11
    266 0
  • 一种防尘防爆含油污泥造粒干化设备的制作方法 再生资源

    一种防尘防爆含油污泥造粒干化设备的制作方法

    ...

    huishou5 huishou5 2021-09-11
    375 0
  • 影响气体放电的因素有哪些解析 金属回收

    影响气体放电的因素有哪些解析

    ...

    huishou5 huishou5 2021-09-11
    630 0
  • 废电脑回收:四月继续攀升?三月下旬内存合约价平均上涨3% 电子产品

    废电脑回收:四月继续攀升?三月下旬内存合约价平均上涨3%

    ...

    huishou5 huishou5 2021-09-11
    412 0
  • 一种点源污染处理装置的制作方法 再生资源

    一种点源污染处理装置的制作方法

    ...

    huishou5 huishou5 2021-09-11
    306 0
  • 一季度国内氧化铝、铝材产量省区排序 金属回收

    一季度国内氧化铝、铝材产量省区排序

    ...

    huishou5 huishou5 2021-09-11
    298 0
首页 上一页 2221 2222 2223 2224 2225 2226 2227 2228 2229 2230 下一页 尾页

正在加载...

没有更多内容

加载错误

热评文章

  • 金属回收

    金属回收

    2023-07-12
  • 再生资源回收

    再生资源回收

    2023-07-12
  • 二手变压器

    二手变压器

    2023-07-12
  • 二手电缆线

    二手电缆线

    2023-07-12
  • 二手空调

    二手空调

    2023-07-12
  • 环保科技指什么

    环保科技指什么

    2023-07-12
  • 甘孜州电缆线回收行业

    甘孜州电缆线回收行业

    2023-07-14
  • 甘孜州二手电缆线回收:环保责任与经济利益共赢

    甘孜州二手电缆线回收:环保责任与经济利益共赢

    2023-07-14

标签列表

    泊祎回收

    Copyright © 2012-2025 版权所有
    • QQ
    • 微信
    • 微博
    • 空间