泊祎回收泊祎回收
  • 首页
  • 金属回收
  • 家具回收
  • 电子产品
  • 工程拆除
  • 电器回收
  • 再生资源
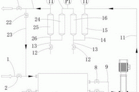
  • 膜分离水处理装置的制作方法 再生资源

    膜分离水处理装置的制作方法

    ...

    huishou5 huishou5 2021-09-26
    312 0
  • 中央空调水为什么会倒流 电器回收

    中央空调水为什么会倒流

    ...

    huishou5 huishou5 2021-09-26
    442 0
  • 废电脑回收:使用Everest主控,OCZ正式发布Octane系列固态硬盘 电子产品

    废电脑回收:使用Everest主控,OCZ正式发布Octane系列固态硬盘

    ...

    huishou5 huishou5 2021-09-26
    246 0
  • 工程技术员安全生产职责 工程拆除

    工程技术员安全生产职责

    ...

    huishou5 huishou5 2021-09-26
    396 0
  • 一种盾构泥浆进入压滤机输送装置的制作方法 再生资源

    一种盾构泥浆进入压滤机输送装置的制作方法

    ...

    huishou5 huishou5 2021-09-26
    323 0
  • 广元广元电缆线回收产品的型号 金属回收

    广元广元电缆线回收产品的型号

    ...

    huishou5 huishou5 2021-09-26
    245 0
  • 废电脑回收:提供等额礼品卡,苹果升级绿色回收产品计划 电子产品

    废电脑回收:提供等额礼品卡,苹果升级绿色回收产品计划

    ...

    huishou5 huishou5 2021-09-26
    315 0
  • 一种CIP清洗系统的制作方法 再生资源

    一种CIP清洗系统的制作方法

    ...

    huishou5 huishou5 2021-09-26
    373 0
  • 溴化锂溶液结晶如何处理 电器回收

    溴化锂溶液结晶如何处理

    ...

    huishou5 huishou5 2021-09-26
    451 0
  • 帷幕灌浆施工的五大要点 工程拆除

    帷幕灌浆施工的五大要点

    ...

    huishou5 huishou5 2021-09-26
    330 0
首页 上一页 2071 2072 2073 2074 2075 2076 2077 2078 2079 2080 下一页 尾页

正在加载...

没有更多内容

加载错误

热评文章

  • 使命是通过回收废旧物资,为社会环境和可持续发展做出贡献

    使命是通过回收废旧物资,为社会环境和可持续发展做出贡献

    2023-07-03
  • 四川恒源通达环保科技有限公司介绍

    四川恒源通达环保科技有限公司介绍

    2023-07-03
  • 安康回收电缆线的主要分类

    安康回收电缆线的主要分类

    2023-07-04
  • 丽江废电缆回收发挥更大的意义

    丽江废电缆回收发挥更大的意义

    2023-07-04
  • 贵州废旧电线回收产品使用误区

    贵州废旧电线回收产品使用误区

    2023-07-04
  • 非晶合金油浸式变压器油处理到什么程度才算合格?

    非晶合金油浸式变压器油处理到什么程度才算合格?

    2023-07-04
  • 贵州废旧电缆回收价格取决于多种因素

    贵州废旧电缆回收价格取决于多种因素

    2023-07-04
  • 贵州废旧电缆回收价格是怎么算的

    贵州废旧电缆回收价格是怎么算的

    2023-07-04

标签列表

    泊祎回收

    Copyright © 2012-2025 版权所有
    • QQ
    • 微信
    • 微博
    • 空间