泊祎回收泊祎回收
  • 首页
  • 金属回收
  • 家具回收
  • 电子产品
  • 工程拆除
  • 电器回收
  • 再生资源
  • 废电脑回收:死磕主流市场,HD 7800/7700系列显卡国内售价全面下调 电子产品

    废电脑回收:死磕主流市场,HD 7800/7700系列显卡国内售价全面下调

    ...

    huishou5 huishou5 2021-09-24
    402 0
  • 废旧空调回收价格一般多少钱 电器回收

    废旧空调回收价格一般多少钱

    ...

    huishou5 huishou5 2021-09-24
    1464 0
  • 爆破作业的安全管理细则 工程拆除

    爆破作业的安全管理细则

    ...

    huishou5 huishou5 2021-09-24
    295 0
  • 矿物绝缘广元电缆线回收产品特性分析 金属回收

    矿物绝缘广元电缆线回收产品特性分析

    ...

    huishou5 huishou5 2021-09-24
    266 0
  • 资阳废旧物资回收的种类介绍 再生资源

    资阳废旧物资回收的种类介绍

    ...

    huishou5 huishou5 2021-09-24
    303 0
  • 废电脑回收:首尝7.1GHz,技嘉Z77X-UP7再破i7-3770K超频记录 电子产品

    废电脑回收:首尝7.1GHz,技嘉Z77X-UP7再破i7-3770K超频记录

    ...

    huishou5 huishou5 2021-09-24
    503 0
  • 二手中央空调的误区 电器回收

    二手中央空调的误区

    ...

    huishou5 huishou5 2021-09-24
    275 0
  • 住宅楼基础工程安全管理方案 工程拆除

    住宅楼基础工程安全管理方案

    ...

    huishou5 huishou5 2021-09-24
    290 0
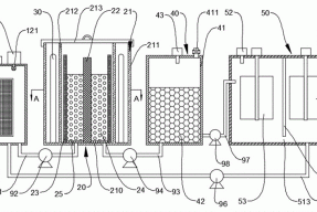
  • 低压微电解及重金属离子捕捉技术的实验室废水处理设备的制作方法 再生资源

    低压微电解及重金属离子捕捉技术的实验室废水处理设备的制作方法

    ...

    huishou5 huishou5 2021-09-24
    267 0
  • 海润光伏签订红河州逾70亿光伏项目合作协议 金属回收

    海润光伏签订红河州逾70亿光伏项目合作协议

    ...

    huishou5 huishou5 2021-09-24
    401 0
首页 上一页 2138 2139 2140 2141 2142 2143 2144 2145 2146 2147 下一页 尾页

正在加载...

没有更多内容

加载错误

热评文章

  • 使命是通过回收废旧物资,为社会环境和可持续发展做出贡献

    使命是通过回收废旧物资,为社会环境和可持续发展做出贡献

    2023-07-03
  • 四川恒源通达环保科技有限公司介绍

    四川恒源通达环保科技有限公司介绍

    2023-07-03
  • 安康回收电缆线的主要分类

    安康回收电缆线的主要分类

    2023-07-04
  • 丽江废电缆回收发挥更大的意义

    丽江废电缆回收发挥更大的意义

    2023-07-04
  • 贵州废旧电线回收产品使用误区

    贵州废旧电线回收产品使用误区

    2023-07-04
  • 非晶合金油浸式变压器油处理到什么程度才算合格?

    非晶合金油浸式变压器油处理到什么程度才算合格?

    2023-07-04
  • 贵州废旧电缆回收价格取决于多种因素

    贵州废旧电缆回收价格取决于多种因素

    2023-07-04
  • 贵州废旧电缆回收价格是怎么算的

    贵州废旧电缆回收价格是怎么算的

    2023-07-04

标签列表

    泊祎回收

    Copyright © 2012-2025 版权所有
    • QQ
    • 微信
    • 微博
    • 空间