泊祎回收泊祎回收
  • 首页
  • 金属回收
  • 家具回收
  • 电子产品
  • 工程拆除
  • 电器回收
  • 再生资源
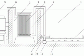
  • 一种MBR反应池曝气装置的制作方法 再生资源

    一种MBR反应池曝气装置的制作方法

    ...

    huishou5 huishou5 2021-10-16
    552 0
  • 废电脑回收:世上最轻?印度Go Tech科技推出Funtab 9.1 幻想平板电脑 电子产品

    废电脑回收:世上最轻?印度Go Tech科技推出Funtab 9.1 幻想平板电脑

    ...

    huishou5 huishou5 2021-10-16
    349 0
  • 回收电子产品的网站,从锂离子电池的静音中再循环和合成锂 家具回收

    回收电子产品的网站,从锂离子电池的静音中再循环和合成锂

    ...

    huishou5 huishou5 2021-10-16
    806 0
  • 回收废金属T62841是什么材料(T62841高速钢) 金属回收

    回收废金属T62841是什么材料(T62841高速钢)

    ...

    huishou5 huishou5 2021-10-16
    319 0
  • 成都回收:为什么不能只将任何东西扔进成都回收箱里-泊祎成都回收网 电器回收

    成都回收:为什么不能只将任何东西扔进成都回收箱里-泊祎成都回收网

    ...

    huishou5 huishou5 2021-10-16
    395 0
  • 热水供应系统分类 工程拆除

    热水供应系统分类

    ...

    huishou5 huishou5 2021-10-16
    354 0
  • 一种粽叶清洗装置的制作方法 再生资源

    一种粽叶清洗装置的制作方法

    ...

    huishou5 huishou5 2021-10-16
    345 0
  • 废电脑回收:提供前置USB 3.0接口,华硕推P7P55/USB3主板 电子产品

    废电脑回收:提供前置USB 3.0接口,华硕推P7P55/USB3主板

    ...

    huishou5 huishou5 2021-10-16
    296 0
  • 美国、欧盟、日本等发达国家固废处理新技术-泊祎成都回收网 电器回收

    美国、欧盟、日本等发达国家固废处理新技术-泊祎成都回收网

    ...

    huishou5 huishou5 2021-10-16
    286 0
  • 一种生物实验室内用培养皿清洁设备的制作方法 再生资源

    一种生物实验室内用培养皿清洁设备的制作方法

    ...

    huishou5 huishou5 2021-10-16
    343 0
首页 上一页 1902 1903 1904 1905 1906 1907 1908 1909 1910 1911 下一页 尾页

正在加载...

没有更多内容

加载错误

热评文章

  • 使命是通过回收废旧物资,为社会环境和可持续发展做出贡献

    使命是通过回收废旧物资,为社会环境和可持续发展做出贡献

    2023-07-03
  • 四川恒源通达环保科技有限公司介绍

    四川恒源通达环保科技有限公司介绍

    2023-07-03
  • 安康回收电缆线的主要分类

    安康回收电缆线的主要分类

    2023-07-04
  • 丽江废电缆回收发挥更大的意义

    丽江废电缆回收发挥更大的意义

    2023-07-04
  • 贵州废旧电线回收产品使用误区

    贵州废旧电线回收产品使用误区

    2023-07-04
  • 非晶合金油浸式变压器油处理到什么程度才算合格?

    非晶合金油浸式变压器油处理到什么程度才算合格?

    2023-07-04
  • 贵州废旧电缆回收价格取决于多种因素

    贵州废旧电缆回收价格取决于多种因素

    2023-07-04
  • 贵州废旧电缆回收价格是怎么算的

    贵州废旧电缆回收价格是怎么算的

    2023-07-04

标签列表

    泊祎回收

    Copyright © 2012-2025 版权所有
    • QQ
    • 微信
    • 微博
    • 空间